Sinomech Corporation
  • 
  • الصفحة الرئيسية
  • نبذة عن SINOMECH+
    • التعريف بالشركة
    • تاريخ الشركة
    • الأيجابيات
    • المعارض
  • المنتجات+
  • الإنتاج والتحري
  • الخدمات
  • الفيديو
  • اتصل بنا
للاستفسار الآن
  • الصفحة الرئيسية
  • آلات التصفيح الخالية من المذيبات
  • آلة تغليف خالية من المذيبات ( لتغليف مرن)
  • آلة تصفيح خالية من المذيبات A400

آلة تصفيح خالية من المذيبات A400

ماكينة تصفيح بدون مذيبات

آلة التصفيح الخالية من المذيبات موديل A400 مناسبة للبدء في التصفيح للتعبئة والتغليف المرن الخالي من المذيبات. مناسبة للتصفيح بسرعة عالية للأنواع المختلفة للفيلم البلاستيكي والفيلم المعدني.

آلة تصفيح خالية من المذيبات A400
آلة تصفيح خالية من المذيبات A400 آلة تصفيح خالية من المذيبات A400 آلة تصفيح خالية من المذيبات A400 آلة تصفيح خالية من المذيبات A400
أقصى سرعة للتصفيح: 400 متر في الدقيقة
أقصى عرض للشريط: 1050\1300\1500 مم
أقصى قطر للفك: 800\1000 مم
أقصى قطر لإعادة اللف: 800\1000 مم
نمط تثبيت البكرة: بعمود أو بدون عمود
موزع الغراء اللاصق: خلاط المادة اللاصقة
الخصائص
  • المواد الأساسية المناسبة: الفيلم البلاستيكي، الفيلم المعدني، الورق، رقائق الألومنيوم، الخ.
  • نظام التحكم في الشد: قسم التحكم المقطعي المستقل مع البكرة الرقاصة ونمط تجميع خلية التحميل (abb.3D1L)، الذي يتم ترتيبه بشكل أفضل لأنواع مختلفة من المواد الأساسية الخفيفة والقابلة للتمدد وفقاً للخصائص المميزة للمواد اللاصقة الخالية من المذيبات.
  • ضبط فجوة القياس: آلية تحديد المواقع السريعة بمفتاح واحد المبتكرة (QPS)، مع وقت ضبط أقل بكثير وجقة عالية بكثير.
  • التحكم في أسطوانة الطلاء: وحدة التحكم بمحرك السيرفو المزدوجة التي بدأتها شركة Sinomech بدقة ومرونة أكبر في ضبط كمية الطلاء.
  • أسطوانة التصفيح: الأسطوانة الاحتياطية القابلة للفصل الأفقية (SBR) المبتكرة، مع ضغط تصفيح أكثر استقرارية وقابلة للتطبيق لأكثر أنواع المواد الأساسية، خصوصاً مواد التمدد الرقيقة والخفيفة.
  • إدارة الماكينة والصيانة عن بعد: تفتح ليتم دمجها في المنصة السحابية لشركة Sinomech لماكينات التصفيح الخالية من المذيبات (SCPSL).
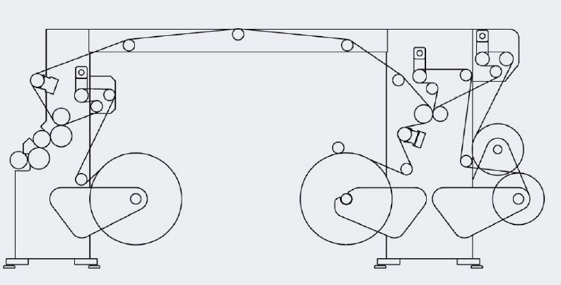
مخطط آلة التصفيح الخالي من المذيبات فئة A400
مخطط آلة التصفيح الخالي من المذيبات فئة A400
الموديلات المحدثة مع الوحدة الوظيفية

1. مع إضافة وحدة التحكم في الفك والشد ثلاثية الأبعاد مع الرول الرقاص، يمكن تحديثها وحدة التصفيح الشريط المزدوج.

الموديلات المحدثة مع الوحدة الوظيفية

2. عن طريق إضافة المسار القصير للشريط ووحدة التحكم في الشد مع خلية تحميل، يمكن تكوين معدات التصفيح لتصفيح رقائق الألومنيوم.

الموديلات المحدثة مع الوحدة الوظيفية
الخيارات
  • خلاط المادة اللاصقة القياسية SINOMECH SM1-40
  • نظام توزيع المادة اللاصقة ذات المكون الواحد SM3-200
  • وحدة معالجة الكورونا
المكونات الرئيسية لماكينة التصفيح الخالية من المذيبات
  • آلية التموضع السريعة بمفتاح واحدآلية التموضع السريعة بمفتاح واحد
  • وحدة الفك المزدوجة مع الرول الرقاصوحدة الفك المزدوجة مع الرول الرقاص
  • وحدة اللف بدون عمودوحدة اللف بدون عمود
  • وحدة الطلاء المستقلة المتحكم بها بواسطة محرك السيرفووحدة الطلاء المستقلة المتحكم بها بواسطة محرك السيرفو
  • إعادة اللف بالرول المساعدإعادة اللف بالرول المساعد
منتجات ذات علاقة
  • آلة تصفيح خالية من المذيبات A350
  • آلة تصفيح رباعي الطبقات خالية المذيبات، موديل A400-13-4V
  • آلة تصفيح ثلاثي الطبقات خالية المذيبات، موديل A400-3V
  • آلة تصفيح ثلاثي الطبقات خالية المذيبات، موديل A400-3H
  • آلة تصفيح خالية من المذيبات A400
  • آلة التصفيح المشترك ذات كاميرا رقمية A400
  • آلة تصفيح نوع Dualam لمواد الفيلم والأغشية والورق بدون مذيبات
  • مصفح مزدوج خالي من المذيبات SLF-AT
  • آلة تصفيح خالية من المذيبات A450
  • آلة تصفيح رقمية خالية من المذيبات A600D
  • آلة تصفيح خالية من المذيبات (للعلب الكرتونية)
  • آلة تصفيح خالية من المذيبات (للعلب الكرتونية\تحويل الفيلم)
  • آلة تصفيح متعددة المهام للفيلم ثلاثي الطبقات بدون مذيبات، موديل A400H3-13A

تواصل معنا

نبذة عن SINOMECH

كشركة رائدة في مجال تصنيع آلات التصفيح الخالية من المذيبات في الصين، توفر شركة SINOMECH مجموعة متنوعة من الموديلات القياسية والمخصصة من ماكينات التصفيح بدون استخدام المذيبات لكي تلبي احتياجات التصفيح المختلفة في مجالات التعبئة والتغليف المرنة، تعبئة وتغليف السجائر، مواد الديكورات المنزلية، الخ. سوى كنت تقوم بتصنيع فليم التغليف المصفح لتعبئة وتغليف المواد الغذائية، البضائع والمواد السائلة، تعد آلات التصفيح الخالية من المذيبات ذات الأداء العالي لشركة SINOMECH الخيار المناسب لمنتجاتك. وفقاً لأهمية ماكينات الصناعة التحويلية، صممت ماكيناتنا لتصفيح الفيلم لكي تتوافق مع أعلى متطلبات معايير الجودة وسلامة المنتج. الطبقات المختلفة التي تتكيف مع عمليات التصفيح بماكيناتنا تشمل فيلم البلاستيك، الفليم المعدني، الألومنيوم فويل، الفليم الصلب، الورق، الورق المقوى. إضافة إلى توفيرنا لماكينات تصفيح الفليم، نوفر أيضاً ماكينات طباعة فليسكو وماكينات سلتر التقطيع، لتحقيق الحل الشامل لصناعة التعبئة الخاصة بك. بفضل قدرتنا على البحث والتطوير، يمكننا إيجاد حلول التصفيح المتكاملة لكل منتج بدون التأثير على توفير الحلول الصديقة للبيئة. نحن دائماً جاهزون لتقديم المساعدة لك من خلال معرفتنا وخبرتنا في صناعة التصفيح.

المنتجات
  • آلات التصفيح الخالية من المذيبات
    1. آلة تغليف خالية من المذيبات ( لتغليف مرن)
      آلة تصفيح خالية من المذيبات A350 آلة تصفيح رباعي الطبقات خالية المذيبات، موديل A400-13-4V آلة تصفيح ثلاثي الطبقات خالية المذيبات، موديل A400-3V آلة تصفيح ثلاثي الطبقات خالية المذيبات، موديل A400-3H آلة تصفيح خالية من المذيبات A400 آلة التصفيح المشترك ذات كاميرا رقمية A400 آلة تصفيح نوع Dualam لمواد الفيلم والأغشية والورق بدون مذيبات مصفح مزدوج خالي من المذيبات SLF-AT آلة تصفيح خالية من المذيبات A450 آلة تصفيح رقمية خالية من المذيبات A600D آلة تصفيح خالية من المذيبات (للعلب الكرتونية) آلة تصفيح خالية من المذيبات (للعلب الكرتونية\تحويل الفيلم) آلة تصفيح متعددة المهام للفيلم ثلاثي الطبقات بدون مذيبات، موديل A400H3-13A
    2. آلة تصفيح بدون استخدام مذيبات (من رول إلى رول)
      آلة تصفيح خالية من المذيبات (لتغليف مواد الديكور) آلة تصفيح خالية من المذيبات (لتغليف قوالب الجبن)
    3. آلة تصفيح مختبرية بدون مذيبات
      آلة تصفيح مختبرية بدون مذيبات: SLE-300
    4. نظام توزيع الغراء اللاصق
      خلاط المادة اللاصقة غير المذيبة ( للاصق من مكونين ) نظام توزيع الغراء من مكون واحد نظام إعادة الملئ التلقائي
  • آلات التصفيح الجاف
    1. آلة التصفيح الجاف A200
    2. آلة التصفيح الجاف مع وحدة اللف A200T
  • آلات طباعة فليكسو CI
    1. آلة طباعة فليكسو بدون تروس CI CINOVA
    2. آلة طباعة فليكسو بدون تروس CI BOOMING
  • ماكينات سليتر التقطيع
    1. ماكينة سليتر تقطيع SSR-A
    2. ماكينة القطع، موديل SSR-AT
عرض المزيد من المنتجات
    1. آلة تصفيح خالية من المذيبات (للعلب الكرتونية)
    2. آلة تصفيح خالية من المذيبات (للعلب الكرتونية)
      أقصى سرعة للتصفيح
      300 متر في الدقيقة
      أقصى عرض للشريط
      1050\1300\1500\1800 مم
      أقصى قطر للفك
      1500 مم
    1. آلة تصفيح خالية من المذيبات (للعلب الكرتونية\تحويل الفيلم)
    2. آلة تصفيح خالية من المذيبات (للعلب الكرتونية\تحويل الفيلم)
      أقصى سرعة للتصفيح
      300 متر في الدقيقة
      أقصى عرض للشريط
      1050 مم
      أقصى قطر للفك
      1600 مم
    1. آلة طباعة فليكسو بدون تروس CI CINOVA
    2. آلة طباعة فليكسو بدون تروس CI CINOVA
      عرض الطباعة
      1270 مم
      وحدة الطباعة
      8 ألوان
      طول تكرار الطباعة
      من 360 إلى 940 مم
    1. آلة طباعة فليكسو بدون تروس CI BOOMING
    2. آلة طباعة فليكسو بدون تروس CI BOOMING
      عرض الطباعة
      1200 مم
      وحدة الطباعة
      8 ألوان
      طول تكرار الطباعة
      من 380 إلى 880 مم
نبذة عن SINOMECH
  • التعريف بالشركة
  • تاريخ الشركة
  • الأيجابيات
  • المعارض
المنتجات
  • آلات التصفيح الخالية من المذيبات
      آلة تغليف خالية من المذيبات ( لتغليف مرن) آلة تغليف خالية من المذيبات ( للورق/ الأغشية/ ألمنيوم/ ركائز الرقائق) آلة تصفيح بدون استخدام مذيبات (من رول إلى رول) نظام توزيع الغراء اللاصق
  • آلات التصفيح الجاف
      آلة التصفيح الجاف A200 آلة التصفيح الجاف مع وحدة اللف A200T
  • آلات طباعة فليكسو CI
      آلة طباعة فليكسو بدون تروس CI CINOVA آلة طباعة فليكسو بدون تروس CI BOOMING
  • ماكينات سليتر التقطيع
      ماكينة سليتر تقطيع SSR-A
اتصل بنا
18 Peizheng Ave., Chini Town, Huadu District, Guangzhou City, Guangdong Province, China
sinomech@126.com
sales@sinomech.cn
+86-20-86720333
+86-20-86720339
+8613609603766
+8613527654064
alvin.tso.921